圖1呈現了電流傳感器開路故障算法流程,其中???? ′ 和???? ′ 分別表示兩個電流傳感器實際測量值,經過克拉克變換到兩相靜止坐標系中得到???? ′ 和???? ′ ,將它們與轉子轉速測量值??????一并輸入到擴展卡爾曼濾波算法中,輸出定子電流和轉速的估計值,之后根據式(3-36)計算三個殘差,其中假定速度傳感器沒有發生故障,即速度觀測器始終可以對速度測量值進行準確的跟蹤,換言之,二者之間的殘差小于閾值。在此假設下,計算式(3-38)中的???? (??)值,并將其與設置閾值??4進行比較,如果該值小于預設閾值,則可能發生量化誤差故障,需要進一步進行故障診斷,否則分別將a、b 相電流殘差與閾值??3進行比較,如果殘差大于預設閾值將確定故障發生在相應的電流傳感器。一旦確定發生故障,將故障發生前瞬間電流反饋值代入式(3-35),并計算轉子磁鏈在兩相靜止坐標系中沿αβ軸分量,然后將其輸入到理想電機模型中產生一步預測,用其輸出替代電流測量值作為擴展卡爾曼濾波算法的校正信號,使得電流觀測器輸出值通過反饋校正作用逼近電流預測值。
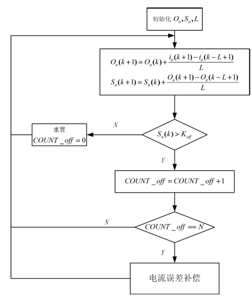
圖2 為電流傳感器直流偏置故障診斷算法流程圖,首先對????、L、????進行初始化,然后依據式(3-39)計算故障特征值????,并將該故障特征值與所設閾值????????進行比較,同時為增加算法抗外界干擾能力,降低誤診斷概率,引入一個計數器,每當特征值大于所設置閾值時,將計數器加1,當計數器大于計數閾值時斷定發生直流偏置故障,然后利用公式(3-41)對電流傳感器的測量值進行補償后繼續參與閉環控制。

圖1 電流傳感器開路故障與變增益故障診斷流程圖

圖2 電流傳感器直流偏置故障算法流程圖